Schedule 114th Kaiho Truck Net (KTN) Auction K00003441

K00003441

Specifications

USED CAR

1

FORWARD

ISUZU

PDG-FRR34S2

6HK1

FR MT 2WD

Basic infomation

Kanazawa, Ishikawa

Shipping service fee
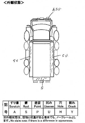
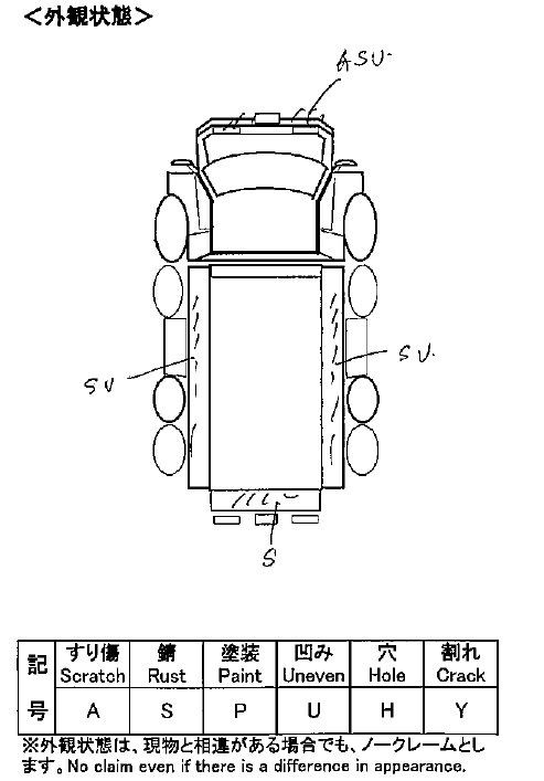
Notes and problems

Oil mixed in the radiator/reserver tank.
Rust on the chassis/bottom of the vehicle.
Company names and logos etc. on the body will be painted.

Engine condition

796,670 km

Car details

2008/07

FRR34-7003621

2,900 kg

4,970 kg

7,980 kg

2

2

Other

7,790 cc

Right

Diesel

With

Without

ALUMINUM WING

Length
: 861 cm
Width
: 249 cm
Height
: 353 cm
L x W x H = 75.67 m3