Schedule 166th Kaiho Truck Net (KTN) Auction K00005403

K00005403

Specifications

USED CAR

1

BELTA

TOYOTA

DBA-SCP92

2SZ-FE

FF AT 2WD

Basic infomation

Kanazawa, Ishikawa

Shipping service fee
Sales point

Successful bidding fee: JPY5,500

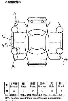
Notes and problems

Company names and logos etc. on the body will be painted.
Rust on the chassis/bottom of the vehicle.

Engine condition

201,795 km

Car details

2009/10

SCP92-1063593

0 kg

1,030 kg

1,305 kg

4

5

White

1,300 cc

Right

Gasoline

With

With

Other

Length
: 430 cm
Width
: 169 cm
Height
: 146 cm
L x W x H = 10.60 m3